GSM-1A超高速摩擦磨损试验机
技术文件
一、适用范围
GSM-1A超高速摩擦磨损试验机在一定的接触压力下,以超高速运动的摩擦形式来评定各种材料的摩擦磨损性能。模拟实际工况,通过控制和改变负荷、转速、时间等参数的情况下进行测试,以评定材料的摩擦系数、磨损量、磨痕深度等综合摩擦磨损性能。
二 、 设备介绍
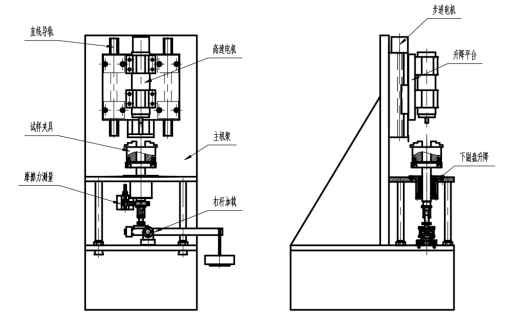
附图说明:

本试验机的组成部分包括:主轴驱动系统、杠杆加载系统、摩擦副下副盘升降系统、上平台升降系统、摩擦副专用夹具、摩擦力矩测定系统等组成。
1 :主轴电机及驱动系统
主轴是由超高速电机和电机调速系统驱动,该系统电机无级调速,高速时精度为1%。高速电机功率为1.2kW。主轴与电机为一体设计,配有低温水循环系统给电机降温,保证主轴电机可长时间工作。高速电机无需润滑、无污染,有运转噪音小、效率高、传递负荷大、使用寿命长等特点。
2 : 杠杆加载系统

该系统包含杠杆支架、低阻力轴承、高精度1:10杠杆、砝码拉簧托盘、M1级砝码以及配重块组成。杠杆通过低阻力轴承固定到支架上,保证了杠杆工作时阻力小,加载精度高。杠杆前端安装砝码拉簧托盘,后端安装配重块,经过调节配重块的前后位置来调整杠杆的水平。试验前根据试验要求摆放砝码,加载精度1% 。
3: 摩擦副下副盘升降系统
该系统主要包括下导向升降轴、副盘、直线球轴承、两个径向球轴承、背紧螺母、滚花螺钉等组成。直线球轴承可使下导向主轴上下运动摩擦阻力小、轻便灵活,在加载时具有较高的灵敏度,径向球轴承可提高摩擦力矩的测量精度。
4 :上平台升降系统
上平台升降系统包括步进电机、滚珠丝杠、丝母、直线导轨、连接板、电机夹具等组成。步进电机连接丝杠,丝母固定到连接板上,通过步进电机的旋转带动连接板在直线导轨上匀速升降,可满足不同高度试样的测试实验。
5: 摩擦副专用夹具
下试样夹具采用三爪卡盘用来固定,可满足不同直径试样安装,上试样夹具配有直径6mm柱形试样柄锁紧装置,也可根据试验要求定做不同试样夹具。
6 :摩擦力矩测定系统
摩擦力测量主要由高精度传感器、显示器、支柱、拨片和支架组成。传感器一端通过支架固定到主机架上,另一端安装支柱,拨片固定到下副盘升降轴上,升降盘旋转带动拨片顶到支柱上,显示器就可实时显示试验中的摩擦力,从而计算出试验的摩擦系数。
三、主要技术指标
序号 | 项目名称 | 技术指标 |
1 | 试验力 | 10-1000N |
2 | 试验力示值相对误差 | ±1% |
3 | 试验力长时保持相对误差(30min) | ±1%FS |
4 | 摩擦力矩测定范围 | 0~2500N·mm |
5 | 摩擦力矩相对误差 | ±1% |
6 | 摩擦力臂长度 | 50mm |
7 | 电机类型 | 超高速主轴电机 |
8 | 主轴转速范围(无级) | 1~40000r/min |
9 | 主轴转速误差 | 1000r/min以下±1r/min; 1000r/min以上±1% |
10 | 电压 | 220V |
四: 试验机的环境与工作条件:
4.1 在室温100C~350C范围内;
4.2 相对湿度不大于80%;
4.3 在稳固的基础上正确安装;
4.4 在周围无振动、无腐蚀性介质和无强电磁场干扰的清洁的环境中;
4.5 电源电压的波动范围不应超过额定电压的
10%。
五:试验机主要配置:
试验主机 一套
冷却水循环系统 一套
M1级砝码 一套
夹具 两套
技术资料:含使用说明书、合格证书、装箱单、维护手册等
工具备件等一套
六、售后服务承诺
1 本设备验收合格后,质保期一年,部分配件终身免费。
2 设备的操作实时免费培训。
3 根据客户要求免费提供专业的技术指导和咨询服务。
4 每一台设备都有工作人员进行跟踪,解决客户的使用问题。公司存有档案,到期提醒客户设备的保养维护。
5 公司承诺在接到客户维修电话后1小时内快速响应,如需现场维修,24小时内到达现场维修,尽可能满足客户的使用要求。
七、联系我们
联系人 :秦经理
客服热线:13356671250
电子邮箱:sdbaohang@126.com
公司地址:山东省济南市槐荫区东吴家堡村恒鑫源商务大厦东临
- -保航机械为您提供专业、优质的技术与服务