一、概述
1.1外观
该试验机主体结构为机、电分离式结构,左侧为计算机控制显示部分,右侧为设备主体,整机结构大方,操作方便。具体如图一所示:

图一. 外观图
1.2 用途与特点
高速转子摩擦磨损试验机设备,用于常温、高温状态下以流体润滑、混合润滑和干摩擦形式的转子端面与止推面、转子与轴承等试样进行摩擦磨损性能的评定??杉觳庋顾趸薪鹗簟⒐こ趟芰?、陶瓷等新型材料的摩擦磨损性能,测定材料的抗磨性及材料匹配特性,在变负荷、转速、温度等各种参数情况下进行试验。可以测定摩擦力矩,计算摩擦系数,记录温度-时间曲线、摩擦系数-时间曲线等。
1.3主要技术指标
序号 | 项目名称 | 技术指标 |
1 | 试验力加载范围 | 1N~200N |
1.1 | 载荷加载控制精度(跳动) | ≤±1% |
1.2 | 载荷加载准确度 | ±1% |
1.3 | 试验力显示分辨率 | 0.01N |
2 | 摩擦力矩 | |
2.1 | 摩擦扭矩测量范围 | 0-2N.m |
2.2 | 摩擦力示值相对误差 | ±1% |
3 | 主轴转速 | |
3.1 | 试验转速 | 100-15000r/min |
3.2 | 转速示值相对误差 | ±1%(转速闭环控制) |
3.3 | 设备精度 | 同轴度≤0.002mm,垂直度≤0.002mm |
3.2 | 试样安装精度 | 同轴度≤0.005mm,垂直度≤0.005mm |
4 | 润滑方式 | 循环润滑、浸油润滑 |
5 | 温度控制范围 | 室温-200℃ |
6 | 温度测量精度 | ≤±2℃ |
7 | 试验机时间显示与控制范围 | 1~99999s或min |
8 | 试验机转数显示与控制范围 | 999999999 |
9 | 主机额定功率 | 3.75kW |
1.4试验机的工作条件
1.在室温10℃-35℃范围内,相对湿度不大于80%;
2.正确安装在稳固的基础或工作台上;
3.周围无腐蚀性介质、无震动和干扰;
4.使用电源:三线四相电压380V±10%;
5.电源电压的波动范围不应超过额定电压的±10%;
6.试验机电源应有可靠接地,频率的波动不应超过额定频率的2%;
二、试验机机构介绍
2.1主机部分
高速转子摩擦磨损试验机设备包括试验力加载系统、摩擦力测量系统、润滑系统、温度控制系统、主轴系统以及电气控制系统等。
2.2主轴及其驱动系统
主轴电机选用中天高速精密电机。该系统电机的额定力矩为4.8N·m,额定转速为18000r/min,最高转速24000r/min,无级恒扭矩,高速精度为0.2%.该电机最大功率约3Kw,在主轴和电机上用高速联轴器柔性连接,通过高速联轴器把电机的功率及扭矩传递到主轴上.由于应用了闭环调速系统使其在转速下具有高的传动力矩,它完全改变了可控硅无级变速系统在低转速下传动力成倍递减的特点。
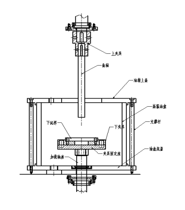
2.3摩擦副部分
该试验机配有一种曲轴面和轴承内孔面接触摩擦副(根据不同试样尺寸可拓展)。
其中:
面面接触摩擦副结构如图所示;
参照图纸安装试样,方可进行试验。
注:试样尺寸须严格按照图纸要求加工!
2.4摩擦力矩测量部分
该试验机摩擦力矩测量通过静态扭矩传感器直接测量,测量精确,稳定、可靠。试验机试样为盘面轴承轴心试样(下试样)和曲轴试样(上试样),盘面轴承轴心孔面为下试样摩擦圆心孔面,曲轴外圆面为上试样摩擦面,上试样在下试样内孔的旋转,静态扭矩传感器直接采集摩擦扭矩。
2.5润滑循环系统部分
润滑循环系统部分分为油雾润滑系统和试样储油箱循环系统,油雾润滑系统是气泵和润滑油箱通过油管和喷油嘴给主轴内部的传动轴承喷油润滑,使主轴轴承提高润滑性能和使用寿命:储油箱循环系统是通过循环油箱给试样油盒腔体内供油,在试样油盒内部有加热系统和测温传感器,保证了试验过程中试样旋转所需要的试样环境,循环油箱电机可通过电脑软件控制。
三、试验操作
3.1开机
◇首先连接好设备电源,合上位于主机右侧的“主机电源”开关,轻按一下面板上的“电源开”按钮。
◇ 然后按一下“启动”按钮,将计算机开启。
◇ 待计算机开启后,在屏幕桌面上找到“Test”图标,双击进入程序,观看各试验参数显示装置是否正常。
◇保持预热 20 分钟,使主轴空运转,观察主轴旋转方向,应为顺时针,单击转速设定值窗口,弹出转速设定对话框,在对话框中设定数值,使主轴转速逐渐升高,在高转速下运转 10 分钟。
3.2试验前准备
◇ 确定试验摩擦副形式,预先按图纸要求加工好试样。
◇ 确定试验条件,如试验力、转速、温度等。
◇ 准备好试样及对应夹具。
◇ 根据试验要求,对试样进行清洁处理。
◇安装好试样,如需做高温实验,则设定好实验所需的温度,进行加热。
3.3开始试验
◇ 在测控软件主页面上,输入试验力、转速、时间等参数。如图:
设定好各参数,点击“方案文件”,然后点击“保存文件”,可保存本次试验条件,方便以后试验直接调取实验条件。更改参数时,单击各个区域设定值后面的文本框即可弹出参数输入对话框。
试验时间单位可选择“时”“分”“秒”,只可在试验开始之前选择。勾选“预设时间”、“预设次数”、“?;ぞ亍比魏我幌罨蚨嘞?,并输入设定值,设备达到条件均会报警停机。
◇ 连接摩擦力接头,单击摩擦力矩单元的清零键,对摩擦力矩进行清零。
◇ 单击“数据文件”的“新建”按钮,循环次数自动清零,试验从0开始;单击开始键,开始试验。设备首先加载并调整试验力调整至预设试验力,试样分开,电机启动,试验循环进行。
◇ 试验达到时设定试验时间或设定次数或扭矩小于设定值时,设备应手动卸载试验力并手动停机。
◇ 若要保存此次试验数据,单击数据导出,在数据导后自动弹出Excel表格
◇ 设备也可生成试验报告具体操作步骤如下:
首先在数据报告中生成报表抬头根据需要填写所需内容,填写完成后保存,
再点击数据报告-报告导出即生成试验报告如下
◇ 取下试样,进行观察、分析,此时可利用已测数据使用软件处理试验结果并打印试验报告。
3.4结束试验
◇ 卸载完成后,单击主页面上的退出按钮,退出测控系统。
◇ 关闭计算机,按下面板上的“电源关”按钮,关闭整机电源。至此,整个试验过程结束!
※特别注意事项
◇每次使用设备完毕后,要及时清理设备腔体油,保证腔体内部整洁。
四、试验机的拆箱、吊装与安装
4.1拆箱
收到货物后,根据采购供货协议,贵方可在我公司调试人员抵达现场后开箱或自行开箱。如若自行开箱,应先取出技术文件,然后根据产品装箱单核对检查下列信息:
◇收到的货物是不是贵方订购的产品?
◇产品及包装是否有破损之处?
◇供货附件是否有遗漏或重复之处?
◇外部裸露螺钉是否有松动或脱落?
◇是否有其他异常?
4.2搬运吊装
◇ 本机在移位搬运时,可把设备两侧的4个装饰螺堵卸掉,装
上随机附带的4个起吊螺钉进行吊运。
◇ 吊运时,起吊绳缆要紧固牢靠、受力均匀,以免在运输中设
备跌落,砸伤身体或损坏设备。
◇ 吊运选择起吊设备(如叉车、电动葫芦等)时,一定要确认
起吊设备满足本机重量要求。
4.3安装位置
◇ 本机应安装在稳固坚实的水泥地面上。
水平度要求为0.5/1000。
◇ 本机背面距离墙壁应不小于0.8m,以利于检修保养。
五、维护与保养
由于本机是机械、电器、微机控制紧密结合一起的典型产品,所以它具有工业设备和微电子装置的双重特点。本机使用环境的变化,如温度、湿度等,以及电气元器件老化等因素,可能会导致本机发生故障。因此,为使本产品能长期正常运行,在存储和使用过程中应对本机进行日常检查和定期的维护。



